兰州通风设备:冷却塔风机通风设备

2018-05-07  来自: 兰州启源暖通科技有限公司 浏览次数:572

在自然通风冷却塔中,(兰州通风设备)水冷却所需要的风量由周围空气所供给。风筒式冷却塔中风量是由高大的通风筒所产生的抽力来完成。而在机械通风冷却塔中,(兰州防火阀)则由风机抽风来供给,冷却塔用的风机主要是轴流式风机。其特点是:风量大,通风压力在20mm H2O左右,通过调节叶片角度来改变风量和风压,耐水雾和大气腐蚀,在户外可长期连续运转无故障、噪声不大、能耗低、可正反向旋转。

兰州通风设备:冷却塔风机通风设备-兰州启源暖通科技有限公司

风机应选用风量足够、噪声低、重量轻、强度大、安全可靠、耐腐蚀、安装及维护方便,符合标准的产品。风筒的直径比轴流风机叶片直径大1%~2 %(大风机取小值,小风机取大值)。在小型风机中,叶尖与筒壁之间的距离最小值为8mm。该距离过大会造成局部涡流,降低风机效率。


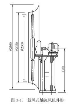
鼓风式风机


当冷却水有较大腐蚀性时,为了避免腐蚀风机(叶片用铝合金、钢材制作)而采用鼓风冷却方式。

为不使冷却塔塔体过高,鼓风式风机直径一般小于4m,风机与塔体距离通常不小于2m,以防止冷却塔内水滴对风机的影响。鼓风式轴流风机如图3-45所示。

兰州通风设备:冷却塔风机通风设备-兰州启源暖通科技有限公司

目前采用轴流风机鼓风式冷却已经很少,原因为:一是风机效率和冷却效果与抽风式相比,均偏低;二是玻璃钢轴流风机从20 世纪80年代诞生和应用以来,逐渐代替了铝合金、钢材制作的风机,该风机具有重量轻、能耗低、耐酸碱腐蚀等特点。因此遇到有较大腐蚀性冷却水时,可采用抽风式玻璃钢轴流风机。


抽风式风机


抽风式冷却塔风机安装在冷却塔上部的风筒内,风机叶片水平安装。小型塔的风机为电动机直接驱动,电动机安装在风筒***的风机上部,防湿性能要求较高,电动机外壳要有严密防湿措施。接电气接线盒处要密封防水,电源线应用套管接到电动机上,电动机轴伸出处也要有防水措施,如图3-46 所示。初始采用的小型风机风压偏高、动能损失较大、噪声也相当高。后采用阔叶片风机,风量较大,风压适用于常用范围,噪声降低。风机叶片采用薄板叶形,材质为铝合金或玻璃钢。叶片用铆接方式与轮壳十字架固定,十字架可用铝、玻璃钢、钢材制作,叶轮装配应作静平衡校验。


中型塔风机减速装置分齿轮减速和皮带减速。电动机基本上仍在风筒内,电动机和减速装置等均应有防湿措施。齿轮减速装置要有添加润滑油油孔;皮带减速装置要有皮带调紧和保护皮带的措施。

大型塔风机的电动机大都安装在风筒外或专门电动机室内,采用传动轴及齿轮减速装置同风机轮壳叶片连接,并有与之配套的润滑油系统,如图3-47所示。

兰州通风设备:冷却塔风机通风设备-兰州启源暖通科技有限公司

立式减速机是将减速机与电动机设施等安装在塔底部***,通过长轴驱动安装在上部风筒内的风机叶片,减轻了塔体的负重。

1. 风机叶片

冷却塔风机的叶形有薄板形和机翼型两种。薄板型的优点是制作简单、强度高。大型风机采用机翼型叶片。 任何材质的风机叶片均要求强度高、表面光洁、各截面过渡均匀、无裂纹、缺口、毛刺等缺陷。

冷却塔轴流风机的叶片数通常为4~12片。

薄板型叶片常用铝合金板、玻璃钢板、钢板等制作。机翼型叶片常用铝合金蒙皮钢结构或玻璃钢等材料,较小的机翼型叶片用铸铝合金或工程塑料作为叶片材料。

2. 常用风机

我国用于冷却塔配套的抽风式风机主要有以下系列:

(1)LF、L型冷却塔风机 LF、L型风机风量大,用作大中型冷却塔的配套风机,风机叶片直径2.4~9.14m,该系列风机叶片采用高强度环氧玻璃钢模压而成,外型设计为机翼型,轮壳采用双板结构形式。该系列风机直径在4.7~9.14m范围内均有广泛采用。

(2)JXLF 系列冷却塔风机 JXLF 系列风机叶片采用铝合金浇涛,叶片形状为机翼型,具有风量大、效率高、 噪声低、强度高、使用寿命长、运行平衡、振动小等优点,适用于各类冷却塔在不同情况条件下和各种环境中连续运行。

该系列风机可配置FZ 系列立式减速机。立式减速机由风机座、传动轴、联轴器、减速机、电动机等组成。叶片安装在冷却塔的上部风筒内,减速机和电动机等安装在塔底部***,通过长轴驱动风机叶片。适用于大中型玻璃钢冷却塔或钢筋混凝土冷却塔。FZ 系列立式减速机如图3-48 所示。

立式减速机特点:

1)减轻塔体负重、使塔运行平衡。

2)观察、维护、检修方便。

3)可降低冷却塔风机传动装置的噪声。

JXLF 系列冷却塔风机及FZ系列立式减速机的主要性能见表3-10。LF、L 型等风机性能详见生产厂家风机样本。

(3)中小型冷却塔用薄板型风机 一般冷却水量在150m3/h以下的风机大都采用低速电动机直接驱动;冷却水在200m3/h 以上的风机大都装设减速器,叶片为铝合金板模压成型并经热处理定型,或采用空腹玻璃钢风机。具有加工方便、强度高、重量轻、耐腐蚀等特点。噪声可达到低噪声标准。

关于风机的详细性能、外形尺寸及选用请查阅有关样本。

(4)风机的选择

1)风机的设计运行工况点应根据冷却塔的设计风量和计算的总阻力确定。风机运行的工况点应有较高的效率。

2)风机电动机的功率可按式(3-7)计算:

式中 ΔPs——风机静压(Pa);

ΔPe——风机动压(Pa);

G——风量(m3/s);

η——电动机效率。

3)在静压和风量不变的情况下,要想降低风机的功率消耗,可加大风机的直径,减小通过风机的风速,即减小动压ΔPe。

4)当环境噪声要求较高时,可采用较大直径叶片的风机,降低风机转速,使噪声降低。

5)风机的减速器应配有油温监测和报警装置,当采用稀油润滑时配有油位指示装置;大型风机应配有振动监测、报警和防振保护装置。

兰州通风设备:冷却塔风机通风设备-兰州启源暖通科技有限公司

联系方式:李先生  15693870809

      王先生  18153661947

座机:0931-4265880

邮箱:1033583238@qq.com

公司地址:七里河区西津西路819之387号甘肃机电城72幢19号109

CopyRight © 版权所有: 兰州启源暖通科技有限公司 网站地图 XML 商情信息

本站关键字: 甘肃人防通风 兰州人防通风 甘肃人防通风安装 兰州人防通风厂家 甘肃人防通风工程 兰州消防通风 甘肃消防通风 兰州消防通风厂家 甘肃消防通风厂家 兰州消防通风设备 甘肃消防通风设备 兰州通风工程


扫一扫访问移动端